Actualité militaire
| Auteur | Message | |
|
castel
Inscrit le 13/12/2006 |
# 11 mars 2013 15:26 | |
|
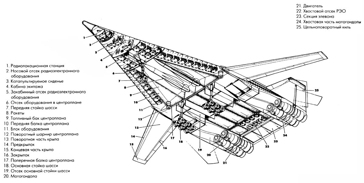
Je crois qu'il y a une erreur dans l'article,car ce serait plutot un remplacant des Tu-95 et Tu-22, les Tu-160 sont encore assez recent.... New Russian bomber taking shape "The development of the Russian Perspective Aviation Complex of Long-Range Aviation (PAK DA) which is to replace Tupolev-95MC and Tupolev-22M3 planes, except the latest Tupolev-160..." les dernier TU-160...vu le peu de nombre construit ca doit vouloir dire tous... Voir l'image _________________ Dreamcastel |
||
|
|
||
|
lequebecois
Inscrit le 11/02/2007 |
# 23 mars 2013 02:28 | |
|
Bonjour, Le légendaire Mil Mi-24 souffle ses 40 bougies. http://www.russianhelicopters.aero/en/p ... /4138.html Voir l'image Rambo 3 me vient toujours en tête lorsque je pense au Mi-24 _________________ Le bonheur est une pause entre deux emmerdes ! Adepte de la discutaille du coin du comptoir du café de la gare |
||
|
|
||
|
lequebecois
Inscrit le 11/02/2007 |
# 4 avril 2013 17:45 | |
|
Bonjour, Le premier B-2, Spirit of Florida, a dépassé les 7000 heures de vol. http://www.afgsc.af.mil/news/story.asp?id=123342932 _________________ Le bonheur est une pause entre deux emmerdes ! Adepte de la discutaille du coin du comptoir du café de la gare |
||
|
|
||
|
castel
Inscrit le 13/12/2006 |
# 6 avril 2013 17:46 | |
|
Rafale: la négociation entre Dassault et l'Inde serait bloquée Les discussions entre Dassault et New Delhi sur la vente à l'armée de 126 avions de combat Rafale achopperaient sur le refus du groupe français d'assumer la responsabilité des appareils qui seront assemblés en Inde. Dassault a indiqué aux autorités indiennes que New Delhi devrait négocier deux contrats, l'un avec Dassault pour les 18 premiers appareils, l'autre avec HAL pour les autres Rafale. Le ministère de la Défense a "totalement rejeté cette suggestion et a clairement dit à Dassault qu'il serait le seul responsable de la vente et de la livraison de l'ensemble des 126 appareils", rapporte The Indian Express, en citant des sources sous le couvert de l'anonymat. Selon The Indian Express, Dassault avait demandé de pouvoir choisir le niveau de participation de HAL mais l'Inde a décidé en janvier que HAL serait le principal assembleur et qu'il le resterait. Selon des sources au sein de l'industrie aéronautique, la position de Dassault consiste à dire que si HAL est le maître d'oeuvre, il doit assumer la responsabilité de la qualité des avions,les détracteurs de HAL lui reprochent de ne pas avoir les moyens de ses ambitions et de ne pas tenir ses délais. Des industriels indiens, sous le couvert de l'anonymat, décrivent un groupe où "une décision de dix minutes peut prendre dix mois" et où un seul syndicat exerce une emprise paralysante. Le titre est quand racoleur mais je comprends les réticences de Dassault vue le fiasco de l'assemblage des Su-30 (Dernière édition le 6 avril 2013 18:03) _________________ Dreamcastel |
||
|
|
||
|
lequebecois
Inscrit le 11/02/2007 |
# 8 avril 2013 02:26 | |
|
Bonjour, Boeing a mis à jour son concept de chasseur de 6e génération F/A-XX http://www.flightglobal.com/news/articl ... pt-384291/ Voir l'image _________________ Le bonheur est une pause entre deux emmerdes ! Adepte de la discutaille du coin du comptoir du café de la gare |
||
|
|
||
|
okhly
Inscrit le 11/05/2008 |
# 11 avril 2013 18:31 | |
|
bonjour, Un missile au but ! http://www.24heures.ch/monde/europe/L-a ... y/14281085 _________________ |
||
|
|
||
|
LightWeight
Inscrit le 28/12/2006 |
# 11 avril 2013 19:21 | |
|
Bonjour, Médiapart va devoir embaucher encore.... .... |
||
|
|
||
|
SINTEX
Inscrit le 18/07/2007 |
# 11 avril 2013 19:29 | |
|
Complètement con cet article. Personne n'a jamais cru au scénario Z décrit dans l'article (arrêt du rafale, de l'A400, vente du CDG etc...). Les sources sécuritaires "non identifiées" qui parlent comme dans l'arrière cour d'un bar de marseille, tout ça fleure bon le mix entre théorie du complot et pipotage de journaliste en mal de scoop. Tout le monde ne peut pas être embauché à Médiapart alors certains fantasment.. _________________ Si on doit vivre dans le monde de Philip K DICK, au moins donnez nous les voitures volantes |
||
|
|
||
|
SINTEX
Inscrit le 18/07/2007 |
# 11 avril 2013 19:31 | |
|
Design superbe, dans la veine du Raptor, et bien mieux que le pataud F35 que je trouve un peu ventru. _________________ Si on doit vivre dans le monde de Philip K DICK, au moins donnez nous les voitures volantes |
||
|
|
||
|
lemichou91
Inscrit le 27/06/2007 |
# 11 avril 2013 21:21 | |
|
Les théories "du complot" cela a toujours fait vendre.... Est il besoin de rajouter ce genre de "ragot" a une affaire qui est PITOYABLE. |
||
|
|
||
|
lemichou91
Inscrit le 27/06/2007 |
# 12 avril 2013 10:25 | |
|
L'Armée américaine réduit la voilure du coté des hélicoptères légers UH-72 d'EADS http://www.boursorama.com/monbourso/brs ... html%3Frss |
||
|
|
||
|
lequebecois
Inscrit le 11/02/2007 |
# 12 avril 2013 16:26 | |
|
Bonjour, Un nouvel intercepteur pour remplacer les Mig-31 en Russie pour 2020 ? http://en.rian.ru/military_news/2013041 ... ander.html Voir l'image _________________ Le bonheur est une pause entre deux emmerdes ! Adepte de la discutaille du coin du comptoir du café de la gare |
||
|
|
||
|
lequebecois
Inscrit le 11/02/2007 |
# 17 avril 2013 00:54 | |
|
Bonjour, Les coupes budgétaires forcées aux US (budget sequestration) obligent l'USAF à clouer 17 escadrons au sol pour réduire de 44 000 le nombres d'heures de vol d'ici septembre. http://www.airforcetimes.com/article/20 ... -squadrons http://theaviationist.com/2013/04/16/st ... W3QfKJWySo Infographie sur les appareils cloués au sol: En rouge: Unités clouées au sol En blanc: Unités prêtes au combat En gris: Unités prêtes pour des missions basiques Voir l'image _________________ Le bonheur est une pause entre deux emmerdes ! Adepte de la discutaille du coin du comptoir du café de la gare |
||
|
|
||
|
LightWeight
Inscrit le 28/12/2006 |
# 21 avril 2013 09:11 | |
|
Médiapart va devoir embaucher encore.... ....Cahuzac n' était pas le bon cheval puisque la réduction de format de notre AA est toujours à l’ ordre du jour selon le dernier A&C: 225 avions de combat (AA+Marine) pour 2020 environ, dont 2 escadrons de 2000D qui ne seront pas modernisés et donc à remplacer les années suivantes par autant de Rafale à ajouter aux 180 déjà engagés (4 ans de plus à la cadence 11/an). Les 180 tous livrés en 2019 sauf si l’ Inde finit par prendre 18 exemplaires pour 18 mois « blancs » pour nos armées en 2017 et 2018. J’ ajoute que si ce contrat avec l’ Inde ne se fait pas, la cadence pourra descendre à 7/an (cadence minimale convenue avec Dassault mais pas avec les contribuables), histoire de faire durer la production, de rester en vie dans quelque espoir…., mais sans souci d’ économies…. (Dernière édition le 21 avril 2013 09:12) |
||
|
|
||
|
SINTEX
Inscrit le 18/07/2007 |
# 22 avril 2013 18:50 | |
|
Sauf changement, la cadence minimale contractuelle était aux dernières nouvelles de 11 par mois, et non 7. On est déjà au plancher.
(Dernière édition le 23 avril 2013 07:43) _________________ Si on doit vivre dans le monde de Philip K DICK, au moins donnez nous les voitures volantes |
||
|
|
||
Ajouter une réponse
Vous devez être inscrit et connecté sur AeroWeb pour pouvoir ajouter une réponse à ce sujet !
